Suspect match query samples
DM
DS
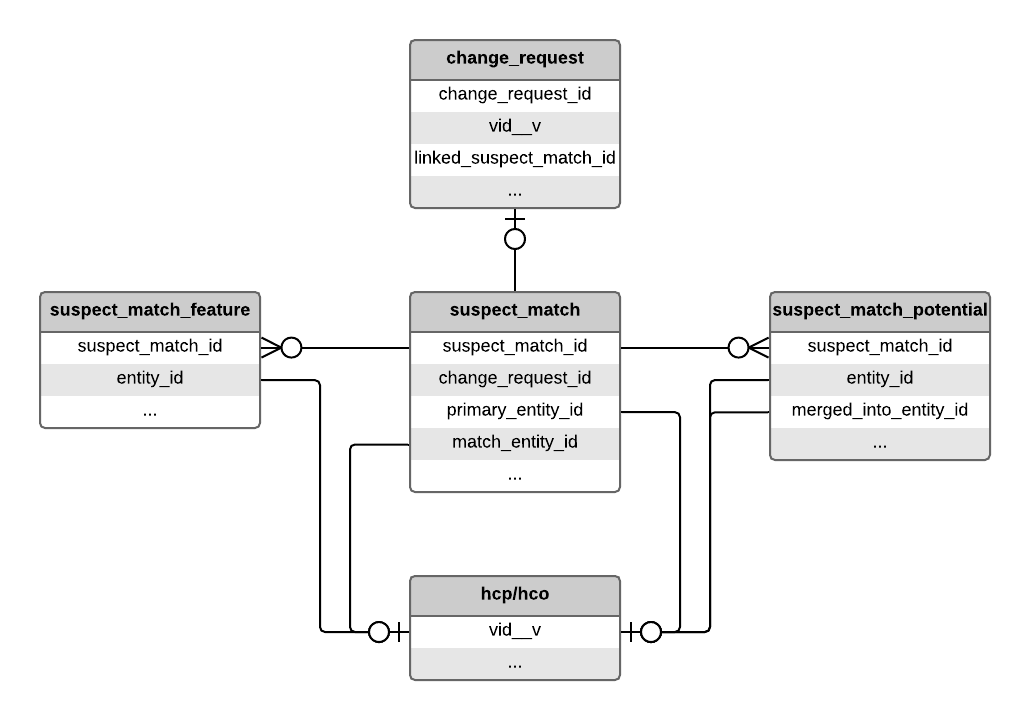
Suspect match tasks details are available in the tables starting with suspect_match. You can query for key information, such as the incoming, match entity ID, and source. For information on which matching features created the suspect match tasks, you can query the suspect_match_feature table.
                                                         
                                                    
Suspect match tasks can have many potential matches. To see detailed information about all potential matches you can query the suspect_match_potential table and join to the related HCP/HCO.
The following table describes the fields used for queries:
| Field | Label | Description | 
|---|---|---|
| change_request_id | Change request ID | Link to the related change request if applicable. | 
| completed_by | Completed by | Data steward that resolved the change request. | 
| completed_date | Completed date | Date and time the change request was reviewed and resolved by a data steward or the Network application. | 
| created_by | Created by | Network user that created the change request. | 
| created_date | Created date | Date and time the change request was created. | 
| description | Description | Detailed notes provided by the suspect match task creator or a system-generated message. | 
| match_entity_id | Match entity ID | ID of the matching HCP/HCO if a steward confirmed that this is a duplicate record. | 
| match_entity_type | Match entity type | Entity type of the matching HCP/HCO if a steward confirmed that this is a duplicate record. | 
| originating_system | Originating system | Applicable to Veeva OpenData only. Name of the customer instance that submitted the DCR. | 
| owner | Owner | Data steward that is current assigned to this task. | 
| primary_entity_id | Primary entity ID | Network entity ID of the HCP or HCO. | 
| primary_entity_type | Primary entity type | Is the primary entity a HCP or a HCO? | 
| proprietary | Is proprietary | Is the primary entity a proprietary record? | 
| resolution | Resolution | Outcome of the change request. | 
| source | Source | Name of the system that submitted the suspect match task. If the suspect match came from the Network user interface, this value will be 'Entity Profile Editor'. | 
| state_key | State key | Current processing state of the suspect match task. | 
| subject | Subject | Name of the related HCP/HCO or the related entity type if the suspect match task was created from an add request. | 
| suspect_match_country | Country | Primary country of the suspect match task. | 
| suspect_match_id | ID | Unique identifier for the suspect match task. | 
Suspect match details
This example provides details of suspect matches completed in the last 30 days.
 SQL query
SQL query
                                                        SELECT
        suspect_match_id,
        primary_entity_type,
        primary_entity_id,
        match_entity_id,
        resolution,
        completed_by,
        completed_date
    FROM
        suspect_match
    WHERE
        state_key = 'PROCESSED'
        AND Datediff (
            'day',
            completed_date,
            CURRENT_DATE
        ) < 30
    ORDER BY
        completed_date DESC ;
                                                        Sample results:
                                                         
                                                    
Suspect Matches related to DCRs
This example analyzes the results of suspect matches that resulted from change requests.
 SQL query
SQL query
                                                        SELECT
        suspect_match_id,
        c.change_request_id,
        primary_entity_id,
        primary_entity_type,
        match_entity_id,
        match_entity_type,
        s.created_date,
        s.completed_date,
        s.completed_by,
        s.resolution
    FROM
        suspect_match s JOIN change_request c
            ON c.change_request_id = s.change_request_id
                                                        Sample results:
                                                         
                                                    
Processed suspect matches by origin
This example generates a list of suspect matches that have been processed, ordered by origin (created_by). The origin can be Network (for master-initiated matches), DataFlow (initiated by a subscription), or a user ID (initiated by a data steward).
Dataflow matches also include an originating system. The description for dataflow-initiated matches includes the job number; other origins include (but are not limited to) the descriptions in the sample results.
 SQL query
SQL query
                                                        SELECT
        suspect_match_id,
        created_date,
        created_by,
        description,
        originating_system,
        state_key,
        resolution,
        suspect_match_country,
        primary_entity_id,
        primary_entity_type,
        match_entity_id,
        match_entity_type,
        change_request_id,
        owner,
        completed_date,
        completed_by
    FROM
        suspect_match
	WHERE
		state_key = 'PROCESSED'
	ORDER BY
		created_by
                                                        Sample results:
                                                         
                                                    
 
                                                             
                                                            