About the data model
DM
Network's flexible data model consists of domains, objects, and fields and their relationship to one another.
Key topics
-
Network data model - Manage domains, objects, fields (legacy and CDA), and reference data.
-
Common Data Architecture for Life Sciences (CDA) - View and manage the HCP and HCO kernels. The kernels include entities (HCPs, HCOs, Addresses), attributes (fields), and picklists (reference data).
-
Custom domains - Create objects to store data that is essential to your business that is not part of the standard Network data model.
Types of data model entities
-
Data domains - A logical grouping of objects for a specific area of activity or knowledge.
Examples: Customer Master (default domain), Payer Master (custom domain), Product Master (custom domain)
-
Main objects - Objects that are independent of other objects. Main objects are directly associated to a data domain.
Examples: Veeva standard objects - HCPs and HCOs, Custom objects - Employee, Payer, Plan, Product.
-
Sub-objects - Objects that must be associated to main objects. A sub-object cannot exist on its own.
Examples: Veeva standard objects - Address and License, Custom sub-objects - Certification, Training.
-
Relationship objects - A many-to-many relationship between main objects.
Examples: Veeva standard object - Parent HCO, Custom relationship objects - Employee-Employee, Payer-Plan, Product-Brand.
View the data model
In the Admin console, click Data Model > Data Domains.
The Data Domains page displays, showing the default Custom Master domain and any custom domains that you have created in your Network instance.
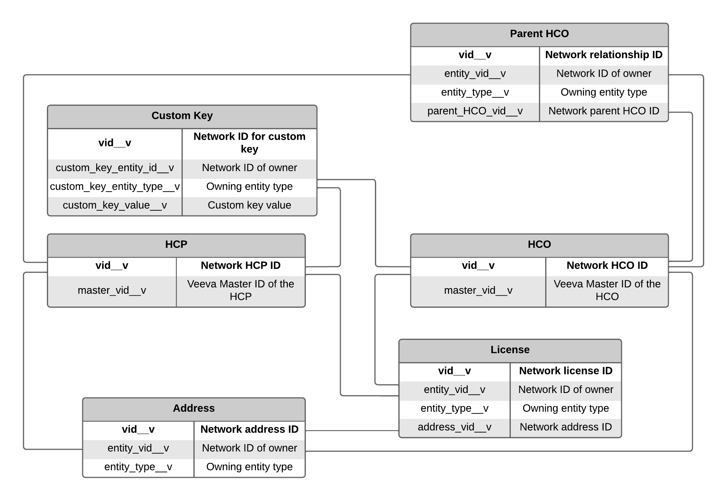
Entity relationships
The following diagram illustrates the relationships between Network objects:
Standard fields
Most of the fields in the Network data model are standard fields. These fields have a suffix of "__v". Veeva-owned fields containing Veeva OpenData data are managed by Veeva OpenData data stewards.
Note: The list of standard fields available varies by country.
New standard fields
Every Veeva object and custom object is assigned a set of Veeva standard fields.
Veeva OpenData periodically adds standard fields for countries. Include the fields in your subscriptions so you receive the data. For more information, see Adding Veeva OpenData fields.
Viewing fields
To view the fields on an object:
- Open a data domain and select an object to open its configuration page.
-
In the Fields section, filter the list by Country, Owner (Veeva or custom) and Type, or accept the defaults to see all fields.
- Review the fields for the object.
The following information is available for each field:
- Name and Label
- Field Access - (Restricted or available to All Users)
- Type
- Reference Type name
- Status
- Not enabled

- Enabled

- Enabled by default and cannot be disabled

For more information, see Enabling data model fields.
- Not enabled

-
Click the field name to open it and view more details.
About field lengths
Some field types have a maximum field length defined. Field lengths are suggestions only; they are not enforced in Network.
Updates to standard field values
Changes to standard field values are routed to Veeva OpenData for verification by Veeva data stewards.
Use standard fields for local data
Customer data can be loaded into Veeva-owned fields if the fields are not used by Veeva OpenData in the country. Changes to customer data in Veeva-owned fields are routed to customer data stewards to maintain. For more information, see Enable data model fields.
Custom fields
You can extend the Network data model by adding custom fields to any Veeva object or custom object.
Custom fields have a suffix of "__c" and can be configured to use a standard list of values, using reference types. Veeva OpenData does not provide data for custom fields; they are private to your Network instance and are not shared with Veeva OpenData.
When you create a custom field, you can indicate whether changes initiated using the Network API are accepted without data steward review, or must be reviewed by a data steward prior to the update being applied to the record.
For more information, see Creating custom fields.
Reference data types
Reference data types enable you to use lists of values for custom fields
Controls (similar to SQL queries) for using available keywords, tables, fields, and operators to analyze data in a Network instance.. When you add or edit records, select a value from the field from a predefined list of accepted values (reference codes).
Veeva Network includes code values and descriptions for reference data fields, localized for supported regions. If a list doesn't contain the value you need, add custom values in the reference list for the field. For example, the Education Level field for HCPs contains code values for College (C), Doctorate (D), Medical School (MS), and so on, but you can add a custom value if a degree or school isn't available in the list.
Custom reference codes for Veeva reference types include a suffix of "__c" as do pre-existing reference codes for custom reference types. New reference codes for custom reference types do not include the "__c" suffix.
Note: Veeva Network does not provide data for custom fields. Custom fields are private and are not shared with Veeva OpenData.
Groups of fields
Some standard fields (__v) in the Network data model are grouped within a set; for example, Specialty, Phones, Focus Areas. In Network features where you can filter or search for data within fields, it's useful to work with the fields as a group instead of having to choose individual fields. For example, if you are searching for HCPs that specialize in stroke medicine, you can select the All Focus Areas group of fields so Network searches the 36 fields in that set: (hcp_focus_area_1__v to hcp_focus_area_36__v).
The following field groups are available:
| Group Name | Data Model Fields Included |
|---|---|
| All Accreditations | hco_accreditation_area_1__v through hco_accreditation_10__vNote: These fields are not grouped for Japan. |
| All Address Lines (reporting only) | address_line_1__v through address_line_3__v |
| All Alternate Names | alternate_name_1__v through alternate_name_10__v |
| All Credentials | credentials_1__v through credentials_10__v |
| All Delivery Address Lines (reporting only) | delivery_address_line__v through delivery_address_line_3__v |
| All Emails | email_1__v through email_10__v |
| All Faxes | fax_1__v through fax_10__v |
| All HCO Focus Areas | hco_focus_area_1__v through hco_focus_area_10__v |
| All HCP Focus Areas | hcp_focus_area_1__v through hcp_focus_area_36__v |
| All Medical Degrees | medical_degree_1__v through medical_degree_5__v |
| All National IDs | national_id__v through national_id_5__v |
| All Old CIP ID End Dates | cip_id_old_end_date__v through cip_old_end_date_5__v |
| All Old CIP IDs | cip_id_old__v through cip_id_old_5__v |
| All Phones | phone_1__v through phone_10__v |
| All Specialties | specialty_1__v through specialty_10__v |
| All URLs | URL_1__v through URL_2__v |
Typically, grouped fields are enabled or disabled as a set, but there are some exceptions. For more information, see Enabling grouped fields.
Features that use field sets
Grouped field sets are available in the following features:
- Profile validation rules - all grouped field sets
- Advanced search - all grouped field sets
- Ad hoc queries (includes data maintenance jobs and reporting) - all grouped field sets (including All Address Lines and All Delivery Address Lines). For more information, see Reporting on fields sets.
- Veeva OpenData Subscriptions - All Specialties only.
- Target subscriptions - all grouped field sets
- Search API - all grouped field sets
- Hierarchy Explorer widget - All Specialties, All Medical Degrees, and All HCP Focus Areas only.
Key fields (VID)
The primary key for each object in a Network instance is called the Veeva ID (vid__v).
The vid__v key contains a unique, automatically generated, 18-digit value for each object in a Network instance. The primary key might not be unique outside of a Network instance; two Network instances could potentially have the same vid__v value, but for different objects.
The master_vid__v field is only populated for records in Veeva OpenData; the field is null for records that are locally managed.
Extended data model
The data model supports using Veeva OpenData fields, __v, for any country to manage local or third party data. Data can be loaded into __v fields without a Veeva OpenData subscription, or in countries where the Veeva OpenData team does not manage that field.
Support for using __v fields in the extended data model includes the following considerations:
- Administrators can enable
__vfields in any country and load customer-owned data into them when the fields are not used by Veeva OpenData in the country, even with a Veeva OpenData subscription enabled. - Any changes to the
__vfields are routed to the appropriate data stewards, either customer or Veeva OpenData, to maintain. -
If a field in a set is enabled, for example
specialty_1__v, all fields in the set are enabled (specialty_1__vthroughspecialty_10__v).There are some exceptions. For more information, see Enabling grouped fields.
-
Ownership of the fields is reflected in the Profile page;
__vfield labels are colored gray (green, in China) if they are not managed by Veeva OpenData in a country. - Ownership of the fields is reflected on field. There are separate sections to show the countries where the field is managed by a OpenData or a third party source and where the fields are managed by customers.

Tip: If you add a field that is not used by Veeva OpenData in that country, the field is not included in the profile layout for that country. For help adding the field to the layout, see Configuring profile layouts.
About data privacy
Although you can extend the standard Network data model
The organization of Network data, including objects, individual fields, field attributes, and data relationships. by adding custom fields
Controls (similar to SQL queries) for using available keywords, tables, fields, and operators to analyze data in a Network instance. in your Network instance, custom fields are always private and never sent to Veeva OpenData. A custom field might be used for storing an ID field for matched records from a third party proprietary data source.
You can load data into your Network instance from other systems (internal data sources or licensed third party data sources) to match and link that data with Veeva OpenData data.
When you add a data source in your Network instance, you can explicitly set a Proprietary flag to indicate whether sharing the data with Veeva OpenData will violate third party agreements. If a source is flagged as containing proprietary data, any add or change requests created through an API call to Network will not be forwarded to Veeva OpenData.
For more information about third party and locally managed data, see Sources of data.
Physical environments
Veeva OpenData is in a separate database schema from the Network Customer Master tenants, and cannot be directly accessed by a tenant. Communication between Veeva OpenData and a Network Customer Master tenant can only happen through a change request API call.
Communication between Veeva OpenData and a customer instance only occurs when Veeva OpenData subscriptions are enabled for the instance, and includes the following types of communication:
- Veeva OpenData Subscriptions
- the change request process
- search and download from Veeva OpenData through the Network UI
Export the data model
The data model can be exported locally as a Microsoft Excel® file from each data domain. Country filters applied in the UI also apply to the data model export.
-
To export, select a data domain and click Export Data Model.
The data model downloads to your local file system with the following naming convention "Data Domain as of <date>.xlsx".
Click the tabs at the bottom of the file to open different objects.
The exported data includes the following details for each field:
| Column Name | Possible Values | More Information |
|---|---|---|
| Name | The field name. | |
| Localized UI Label | The label used in the Network UI for the language defined in your profile. | |
| Effective Version | Version number | The first time the field was created for at least one country. |
| Status | Active / Deactivated | Active if the field is enabled in your Network instance. |
| Type | Reference, Set, String, Alternatekey, Date, Year, Boolean, Number, Datetime. | The type of data in the field. |
| Reference Type | Reference type | For Reference and Boolean type fields only. If the field does not have a reference type, the column is empty. |
| Length | 10, 20, 100, 500 ... | The field length.
Important: Field lengths are suggestions only. They are not enforced in Network. |
| Default Value | True / False | True if the field has a default value in at least one OpenData country. |
| Custom Field? | True / False | True if the field has been created in your Network instance (__c). |
| Network System Field? | True / False | True if the field is populated automatically by Network; for example, record_state__v, created_date__v, record_owner_type__v. |
| Field Description | Description in the field configuration. | |
| HCP Opt Out Behavior | Retain, Blank, Mask | Indicates what happens to the field value when the record is exported if the data_privacy_opt_out field is set to Yes/True.
Mask means that the field value is replaced with "Data Privacy" on OpenData records or "Customer Data Privacy" on locally managed records when the record is exported. |
| Default Rankings | Default/Overridden | Identifies if the field rankings have been overridden. See the Source Rankings section on each data model field page. |
| CRM Field Group Name | The name used by the CRM bridge. | |
| Read Only in (region) | True/False | The value is determined per country. If the field is not available in a country, the column value is always False. |
| Required in (region) | True/False | The value is determined per country. If the field is not available in a country, the column value is always False. |
In the country columns, TRUE indicates the field is being managed in the country, and FALSE indicates that the field is not being managed in the country. You can confirm who is managing a field by reviewing the field list on the object page or on the field configuration page.
On the field's configuration page, when a field is removed from the Managed by Customer section for a country and object, FALSE is shown for that country and that object in the exported file.
Country support
The following list of countries have their own data model. Countries that are not listed use the Other Countries data model.
-
Albania (AL)
-
Algeria (DZ)
-
Andorra (AD)
-
Angola (AO)
-
Argentina (AR)
-
Armenia (AM)
-
Australia (AU)
-
Austria (AT)
-
Azerbaijan (AZ)
-
Bahamas (BS)
-
Bahrain (BH)
-
Barbados (BB)
-
Belarus (BY)
Note: Data for Belarus is no longer provided by OpenData
-
Belgium (BE)
-
Bermuda (BM)
-
Bolivia (BO)
-
Bosnia and Herzegovina (BA)
-
Botswana (BW)
-
Brazil (BR)
-
Bulgaria (BG)
-
Burkina Faso (BF)
-
Cameroon (CM)
-
Canada (CA)
-
Cayman Islands (KY)
-
Chile (CL)
-
China (CN)
-
Colombia (CO)
-
Costa Rica (CR)
-
Cote d'Ivoire (CI)
-
Croatia (HR)
-
Curacao (CW)
-
Cyprus (CY)
-
Czech Republic (CZ)
-
Denmark (DK)
-
Dominican Republic (DO)
-
Ecuador (EC)
-
Egypt (EG)
-
El Salvador (SV)
-
Estonia (EE)
-
Ethiopia ( ET)
-
Finland (FI)
-
France (FR)
-
Georgia (GE)
-
Germany (DE)
-
Ghana (GH)
-
Greece (GR)
-
Guatemala (GT)
-
Honduras (HN)
-
Hong Kong (HK)
-
Hungary (HU)
-
Iceland (IS)
-
India (IN)
-
Indonesia (ID)
-
Iraq (IQ)
-
Ireland (IE)
-
Israel (IL)
-
Italy (IT)
-
Jamaica (JM)
-
Japan (JP)
-
Jordan (JO)
-
Kazakhstan (KZ)
-
Kenya (KE)
-
Kuwait (KU)
-
Kyrgyzstan (KG)
-
Latvia (LV)
-
Lebanon (LB)
-
Liechtenstein (LI)
-
Lithuania (LT)
-
Luxembourg (LU)
-
Macao (MO)
-
Macedonia (MK)
-
Madagascar (MG)
-
Malaysia (MY)
-
Mali (ML)
-
Malta (MT)
-
Mauritius (MU)
-
Mexico (MX)
-
Moldova (MD)
-
Monaco (MC)
-
Montenegro (ME)
-
Morocco (MA)
-
Namibia (NA)
-
Netherlands (NL)
-
New Zealand (NZ)
-
Nicaragua (NI)
-
Nigeria (NG)
-
Norway (NO)
-
Oman (OM)
-
Pakistan (PK)
-
Panama (PA)
-
Paraguay (PY)
-
Peru (PE)
-
Philippines (PH)
-
Poland (PL)
-
Portugal (PT)
-
Qatar (QA)
-
Romania (RO)
-
Russia (RU)
Note: Data for Russia is no longer provided by OpenData
-
Saudi Arabia (SA)
-
Serbia (RS)
-
Senegal (SN)
-
Sierra Leone (SL)
-
Singapore (SG)
-
Slovakia (SK)
-
Slovenia (SI)
-
South Africa (ZA)
-
South Korea (KR)
-
Spain (ES)
-
Sweden (SE)
-
Switzerland (CH)
-
Taiwan (TW)
-
Tajikistan (TJ)
-
Thailand (TH)
-
Trinidad and Tobago (TT)
-
Tunisia (TN)
-
Turkey (TR)
-
Turkmenistan (TM)
-
Ukraine (UA)
-
United Arab Emirates (AE)
-
United Kingdom (UK)
-
United States (US)
-
Uruguay (UY)
-
Uzbekistan (UZ)
-
Vietnam (VN)
-
Other Countries (ZZ)